方形搖擺篩抽拉式篩網結構設計技術及要求
本技術一種方形搖擺篩抽拉式篩網結構。方形搖擺篩作為一種振動機械,其被廣泛應用于化工、冶金、陶瓷磨料、食品、制藥、造紙等各個行業。而其中的篩網則是搖擺篩重要的工作構件,在搖擺篩篩分過程中,所有待篩分物料都需要通過篩網來達到客戶所需求的目數要求。目前現有的方形搖擺篩篩網是經由1-3人手動搬至篩機內,清理或更換時還需1-3人人工搬出,因此,整個清理和更換篩網的過程異常麻煩、而且費時、費力,浪費了極大的人力資源及成本。
本技術公開了一種篩網固定結構,包括方形篩網、s型彈簧卡和篩框,其中方形篩網兩側邊沿的網架上分別均布有多個條形孔,篩框的底板兩側分別向上翻邊形成開口相對的u型卡槽,s型彈簧卡的頂端豎向延伸形成與方形篩網條形孔過盈配合的豎向卡邊,s型彈簧卡的底端橫向延伸形成與篩框u型卡槽過盈配合的橫向卡邊。雖然,該固定方式要優于普通的螺栓固定方式,但是,在清理和更換篩網時,依然需要一個一個拆卸下s型彈簧卡,并且需要多人合作搬出,費時、費力,且浪費了極大的人力資源和成本。

技術實現要素:
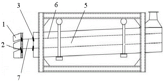
針對上述技術問題,本技術的任務是提供一種結構簡單的可抽拉式篩網結構。當篩網在清理或更換時,一個人即可完成工作。本技術的任務是這樣完成的,包括設備箱體(5)、進料口(1)以及篩網網架(7),其特征在于:所述進料口(1)兩側分別通過至少兩個卡接部活動連接在所述設備箱體(5)出料部位側面上,至少兩根相互平行的長條狀托板(6)沿振動傾斜方向固定于設備箱體(5)之內,篩網網架(7)直接放置在托板(6)上并可以在設備箱體(5)內被抽出和被推進。
所述卡接部包括快速插件(2)、連接件(3)以及快速滑扣件(4),所述快速插件(2)固定在進料口(1)側面邊緣處,所述連接件(3)固定在設備箱體(5)出料部位側面靠近邊緣處且與快速插件(2)相應位置上,所述快速插件(2)和連接件(3)各自遠離相互拼接部位一側設有一豎直滑槽(2-2),所述快速滑扣件(4)兩側面的后端內折形成相對應的滑槽凸臺(4-1),擋板(4-2)固定在快速滑扣件(4)的頂端面上,所述滑槽凸臺(4-1)與所述滑槽(2-2)配合滑動。
所述進料口(1)的側面邊緣處還設有進料口卡槽(2-3),且該進料口卡槽(2-3)緊鄰快速插件(2)的上部,所述連接件(3)上部設有箱體突出部(3-3),且該箱體突出部(3-3)可插入所述進料口卡槽(2-3)中,在箱體突出部(3-3)插入方向一側設有一滑槽,且該滑槽與快速插件(2)上的滑槽(2-2)沿豎直方向上相重合。
所述托板(6)寬1-2cm,長度與設備箱體(5)同長。
本技術具有以下效果:在本技術方案中,出料口可拆卸安裝于設備箱體上,多根平行的長條狀托板沿振動傾斜方向設置于設備箱體之內,而篩網網架直接放置在托板上。即此時工作人員只需拆開出料口,便可抽出篩網,方便快捷,節約人力成本。而在出料口及設備箱體出料相應部位的卡接部,可實現出料口的快速安裝及拆卸過程,省時省力,方便快捷。
附圖說明

圖面說明:1、進料口,2、快速插件,2-1、插件凸臺,2-2、滑槽,2-3、進料口卡槽,3、連接件,3-1、拼接卡槽,3-3、箱體突出部,4、快速滑扣件,4-1、滑槽凸臺,4-2、擋板,5、設備箱體,6、托板,7、篩網網架。
具體實施方式
下面詳細描述本技術的實施例,所述實施例的示例在附圖中示出,其中自始至終相同或類似的標號表示相同或類似的元件或具有相同或類似功能的元件。下面通過參考附圖描述的實施例是示例性的,旨在用于解釋本技術,而不能理解為對本技術的限制。
如圖1所示,一種方形搖擺篩抽拉式篩網結構,包括設備箱體5、進料口1以及篩網網架7,所述進料口1兩側分別通過至少兩個卡接部活動連接在所述設備箱體5的出料部位側面上,至少兩根相互平行的長條狀托板6沿振動傾斜方向固定于設備箱體5之內,篩網網架7直接放置在托板6上并可以在設備箱體5內被抽出和被推進。上述托板6寬1-2cm,長度與設備箱體5同長。
如圖2所示,上述的卡接部包括快速插件2、連接件3以及快速滑扣件4,所述快速插件2固定在進料口1側面邊緣處,所述連接件3固定在設備箱體5出料部位側面靠近邊緣處且與快速插件2相應位置上,所述快速插件2和連接件3各自遠離相互拼接部位一側設有一豎直滑槽2-2,所述快速滑扣件4兩側面的后端內折形成相對應的滑槽凸臺4-1,擋板4-2固定在快速滑扣件4的頂端面上,所述滑槽凸臺4-1與所述滑槽2-2配合滑動。
上述進料口1的側面邊緣處還設有進料口卡槽2-3,且該進料口卡槽2-3緊鄰快速插件2的上部,所述連接件3上部設有箱體突出部3-3,且該箱體突出部3-3可插入所述進料口卡槽2-3中,在箱體突出部3-3插入方向一側設有一滑槽,且該滑槽與快速插件2上的滑槽2-2沿豎直方向上相重合。
在安裝進料口1時,可先將進料口1上的快速插件2與設備箱體5上的連接件3處的拼接卡槽3-1對應好;之后將進料口1插入設備箱體5上的出料部位處,此時的箱體突出部3-3插入在進料口卡槽2-3中,且插件凸臺2-1與拼接卡槽3-1完全接觸;最后將快速滑扣件4沿滑槽2-2滑入直到擋板4-2接觸到箱體突出部3-3為止,即可實現進料口1與設備箱體5的快速安裝。當需要拆卸進料口1時,只需將快速滑扣件4滑出滑槽2-2,就可以將進料口1拆卸下來。上述安裝及拆卸過程不僅連接簡單方便,而且速度極快。
若需要清理或更換篩網時,需要先將進料口1依照上述方式拆卸下來,然后再將篩網網架7沿托板6抽出即可。該方式省時省力,一人足以完成工作,節約了人力資源及成本。
本技術中,除非另有明確的規定和限定,術語“安裝”、“相連”、“連接”、“固定”等術語應做廣義理解,例如,可以是固定連接,也可以是可拆卸連接,或一體連接,可以是兩個元件內部的連通。對于本領域的普通人員而言,可以根據具體情況理解上述術語在本技術的具體含義。
技術特征:
1.一種方形搖擺篩抽拉式篩網結構,包括設備箱體(5)、進料口(1)以及篩網網架(7),其特征在于:所述進料口(1)兩側分別通過至少兩個卡接部活動連接在所述設備箱體(5)出料部位側面上,至少兩根相互平行的長條狀托板(6)沿振動傾斜方向固定于設備箱體(5)之內,篩網網架(7)直接放置在托板(6)上并可以在設備箱體(5)內被抽出和被推進。
2.根據實用需求1所述的一種方形搖擺篩抽拉式篩網結構,其特征在于:所述卡接部包括快速插件(2)、連接件(3)以及快速滑扣件(4),所述快速插件(2)固定在進料口(1)側面邊緣處,所述連接件(3)固定在設備箱體(5)出料部位側面靠近邊緣處且與快速插件(2)相應位置上,所述快速插件(2)和連接件(3)各自遠離相互拼接部位一側設有一豎直滑槽(2-2),所述快速滑扣件(4)兩側面的后端內折形成相對應的滑槽凸臺(4-1),擋板(4-2)固定在快速滑扣件(4)的頂端面上,所述滑槽凸臺(4-1)與所述滑槽(2-2)配合滑動。
3.根據實用需求2所述的一種方形搖擺篩抽拉式篩網結構,其特征在于:所述進料口(1)的側面邊緣處還設有進料口卡槽(2-3),且該進料口卡槽(2-3)緊鄰快速插件(2)的上部,所述連接件(3)上部設有箱體突出部(3-3),且該箱體突出部(3-3)可插入所述進料口卡槽(2-3)中,在箱體突出部(3-3)插入方向一側設有一滑槽,且該滑槽與快速插件(2)上的滑槽(2-2)沿豎直方向上相重合。
4.根據實用需求1所述的一種方形搖擺篩抽拉式篩網結構,其特征在于:所述托板(6)寬1-2cm,長度與設備箱體(5)同長。
技術總結
本技術公開了一種方形搖擺篩抽拉式篩網結構,包括設備箱體、進料口以及篩網網架,進料口兩側分別通過至少兩個卡接部活動連接在所述設備箱體出料部位側面上,至少兩根相互平行的長條狀托板沿振動傾斜方向固定于設備箱體之內,篩網網架直接放置在托板上并可以在設備箱體內被抽出和被推進。卡接部包括快速插件、連接件以及快速滑扣件,快速插件固定在進料口側面邊緣處,連接件固定在設備箱體出料部位側面靠近邊緣處且與快速插件相應位置上,快速插件和連接件各自遠離相互拼接部位一側設有一豎直滑槽,快速滑扣件兩側面的后端內折形成相對應的滑槽凸臺,該滑槽凸臺與所述滑槽配合滑動。該技術方案省時省力,方便快捷,極大的節約了人力成本。
最新產品
同類文章排行
- 標準旋振篩改造成超聲波旋振篩需要哪些配件?
- 滾筒篩有效解決篩分多棱狀物料篩網堵塞問題
- 振動篩篩網破損后怎樣更換篩網?
- 旋振篩透篩率該怎樣提高?受那些因素影響
- 多出料卸料口刮板輸送機技術特征及要點
- 振動篩分機在膩子粉行業的應用
- 怎樣調整旋振篩會使篩粉處理量增大?
- 方形搖擺篩抽拉式篩網結構設計技術及要求






